Jan 29 , 2023
Hoy en día, las máquinas de corte de tubos láser de fibra son muy comunes en el mercado, lo elegimos por la alta velocidad, alta precisión y mayor flexibilidad, etc. Pero también sabemos que hay muchos tipos de tubos en el mercado.
Tipo de material: acero de carbono, acero inoxidable, aluminio, etc.
Espesor: 1-10mm, o incluso más alto
Longitud: normalmente 6 metros, pero a veces también tienen 7M 8M, 9M, E incluso 12m
Tamaño: Algunos tubos son muy pequeños, los diámetros redondos solo alrededor de 10mm, pero algunos tubos son muy grandes, incluso hasta 350mm, y tal vez más que eso.
Normalmente calculamos los diámetros por su tamaño diagonal.
Tomemos un ejemplo, el tamaño de la tubería cuadrada es 1*1mm, así que es diámetros que necesitamos calcular como 1212= 2, luego Cuadrado 2 = √ 2 = 1.414
Así que el diámetro del tubo cuadrado, el diámetro es 1.414
Y el tipo C (tubo de canal) y "L" son la misma manera de calcular los diámetros.
Tipo de tubos: redondo, cuadrado, L, C (canal), triángulo, plano, etc.
Longitud terminada: a veces la longitud de alimentación del cliente es de 8m, pero la longitud del tubo terminado también es de 8m, por lo que también debe considerar este tipo de opción una vez que elegimos elMáquina láser de corte de tubos de metal...
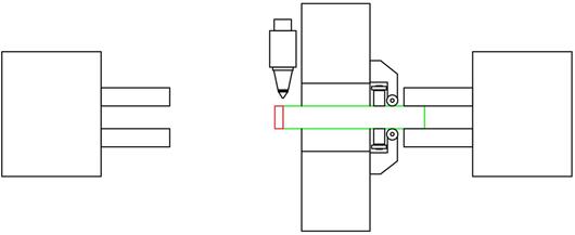
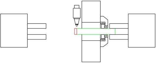
Longitud del material de la cola: Este es un artículo que todos los clientes no pueden evitar, cómo formar el material de la cola, se puede entender a partir de la imagen de abajo
Peso de la longitud: Es los resultados considerando la longitud, el grosor, el tipo de material y el tamaño, entonces podemos calcular el peso, como sabemos, los mandriles son abrazaderas neumáticas, la capacidad de carga es limitada, los mandriles no pueden funcionar una vez que el peso es mayor que la capacidad de mandril
Los elementos anteriores son los elementos básicos que necesitamos saber, debido al tipo deMáquina de corte láser de hoja y tubo, Debemos considerar los elementos anteriores.
Potencia: tenemos que considerar el espesor del material, tipo de material, es lo mismo que el corte de la placa, mayor potencia definitivamente una mayor velocidad junto con una buena superficie
Longitud: tenemos que considerar la longitud del tubo, si la longitud del tubo es de sólo 6M, nuestroMáquina de corte láser de tubo de acero inoxidableAl menos 6 metros, y si nuestra longitud del tubo es de 8 M, 6 M para las máquinas de corte de tubos no es suficiente, tenemos que elegir máquinas de corte de tubos de 8 m
Diámetros de Chuck: Como los artículos mencionados anteriormente, si nuestros tubos son muy pequeños en tamaño, por ejemplo, el diámetro máximo es de sólo 200mm, nuestro diámetro de Chuck es Al menos 200mm, pero si el diámetro del tubo es más de 300mm, definitivamente 200mm no son suficientes, tenemos que elegir un 300 o 320 o 350mm Chuck Diámetros
Capacidad de Chuck: normalmente el tipo común en el mercado es 6020, y la capacidad de carga es de alrededor de 160kg, pero si el peso del tubo es incluso más de 160kg, las máquinas no pueden girar, la máquina no puede trabajar
Luego, el resto de los artículos son a la longitud terminada y el material de la cola, tenemos que entender la diferencia entre 2 y 3 chucks


Es muy fácil entender que 2 chucks solo 2 chucks, los chucks izquierdos y los chucks del medio
Pero 3 chucks tienen 3 chucks, los chucks izquierdos y chucks medios y chucks derechos
Entonces, ¿es realmente necesario eso para agregar un chucks más? ¿Es útil o no? Necesitamos compararlo uno por uno
Cómo formar

Como muestra la imagen anterior: las áreas para el lado izquierdo de la cabeza, las abrazaderas del medio y las abrazaderas de la derecha son el área ciega, donde el cabezal de corte no puede cortar, la parte roja que llamamos material de cola.
La longitud del material de cola de diferenteFabricantes de máquinas de corte de tubos láserEs diferente sólo porque la longitud por la derecha abrazaderas de diferencia, normalmente 160-200mm

Como se muestra en la imagen de la derecha, normalmente las abrazaderas de la izquierda entregarán la tubería en el mandril central una vez que las abrazaderas de la derecha se abran, actualmente, la cabeza láser solo necesita evitar la colisión a las abrazaderas correctas para tener los resultados para reducir el material de desecho
Ventajas: La solución es simple y fácil de completar.
La longitud del material de cola se puede reducir a 80mm mediante una revisión simplificada
Desventajas: solo para tuberías pequeñas, tuberías de material delgado Si las tuberías pesadas, las tuberías largas, el acabado y la precisión no pueden reunirse
1. El material de cola de anidación es de más de 200mm

Las máquinas cortarán los modelos estándar de 2 chucks, el tercer Chuck se sujetará como el conjunto
El material de cola es de 200mm
2. Material de cola de anidación inferior a 200mm, más de 80mm y longitud del producto final superior a 900mm

El mandril medio se mueve hacia el lado derecho, el láser cabeza cortada una vez que el derecho abrazaderas El material de cola es de 80mm
3. Material de cola de anidación inferior a 80mm, la longitud del producto final es superior a 900mm

El mandril medio se mueve hacia el lado derecho, las abrazaderas del lado izquierdo se abren, la cabeza del láser corta los lugares finales
El material de cola es 0-5mm
1. La longitud del material de cola es de más de 200mm, el modelo de 2 Chuck está disponible y asegúrese de que la precisión
2. La longitud del material de cola menos de 200mm, más de 80mm, y la longitud del producto final es más de 900mm, y puede asegurarse
La precisión
3. La longitud de la cola es inferior a 80mm y la longitud del producto final es superior a 900mm, y asegúrese de que el corte de la cola '0'
1. Necesita la longitud final de la tubería de más de 900mm para permitir el tercer mandril, si es menos de 900mm, el tercer mandril estará inactivo
2. Una vez que haya cortado el material de cola 0, puede que tenga una precisión perdida una vez para cortar los diámetros de menos de 100mm por su larga distancia desde la parte inferior hasta las abrazaderas
1. Los problemas en el Corte de tuberías de alta resistencia

Una vez para cortar tubos de alta resistencia, las partes verdes como la imagen de arriba se muestra colgando demasiado tiempo, el peso propio tendrá una gran fuerza de apalancamiento que no puede neutralizar por las abrazaderas. Las tuberías colgantes bajarán y también se deslizarán de las abrazaderas una vez que se alimenten y regresen para tener un resultado de corte de fallas
También no puede resolver este tipo de problemas con soporte flotante
Después de los puntos anteriores, por lo que tal vez podamos saber muy fácilmente las ventajas y desventajas de los 3 chucks, tenemos que entender que los clientes necesitan en primer lugar
3 mandriles son definitivamente una buena opción, pero el costo también es definitivamente mayor al agregar un mandril adicional

Arriba están los detalles básicos para los tubos, en realidad en producciones reales, es más complicado por su diferente exigencia
1) Si los tubos no son rectos, ¿es posible cortar y cómo puede también asegurarse de la precisión?
2) Normalmente los tubos tienen líneas de soldadura, ¿es posible evitar las líneas de soldadura?
3) ¿Es posible asegurarse de que la superficie interior limpia una vez para cortar el acero inoxidable que se utiliza para la industria alimentaria?
4) El CORTE DE cenetras en China es estable o no si se compara con BLM Italia
5) ¿El cargador automático es adecuado para todos los tubos? Y si los tubos de alta resistencia, ¿cómo cargar los tubos y cómo descargar los tubos?
6) ¿La máquina cortadora de tubos 4 chucks es realmente necesaria?
7) Cada vez hay más preguntas
Remcor, un proveedor profesional con 18 años de experiencia en la industria del láser, podemos proporcionar las líneas llave en mano para las líneas de corte láser mediante la importación de las líneas terminadas, como fresadoras, centros de mecanizado CNC, etc.
Nos complace recibir sus consultas y buscar al distribuidor a nivel mundial, gracias.
This is the last one.